
The speedwing super is the idial powerkite to build in a short time, this kite can pul a adult person in strong wind with ease acros the beach ! In a train of 2 a 3 it's an idial kite to buggying in strong wind.
Here is the plan of the speedwing super:
THE SPEEDWING IS A PATENTED KITE, SO YOU CAN ONLY BUILD IT FOR PERSONAL USE !!
Follow this link for some pictures of the speedwing
Wat heb je nodig ?
1,25 m Carrington spinnakerfabric 42 gr/m^2
2 st 1,25 m carbonfiber 9 mm dikwandig
1 st 1,25 m carbonfiber 10 mm
1 st 1 m glassfiber 12 mm
15 cm reinforced vinylhose, 9 mm innertube
20 cm reinforced vinylhose 10 mm innertube
3 m dacronribbon 60 mm wide
50 cm dacronribbon 30 mm wide
8 m bridle 135 kg strong
1 st aluminium ring
2 st protectioncap 9 mm inner
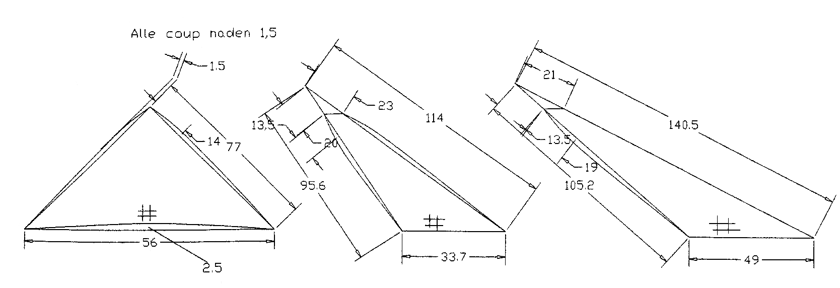
Here are the drawing of the sections of the speedwing. the measurements are including the hem. The drawing isnt on scale, so you must use only the measurements ! All measurements are in metric centimeters.

The construction of the nose.

The bridle and the hoses.

The wingtips:

The bridle completed:

The holes for the sticks:

Have fun with building it !
Do you want to know something ? mail to Henry